据36氪爆料,TikTok今年下半年美区GMV目标为120-130亿美金,其中Global Selling(即通常理解的“跨境”)业务贡献约五分之一。截至发稿,字节跳动方面未对此数据做出回应。
值得一提的是,就在日前,TikTok母公司字节跳动宣布,John Rogovin将加入公司担任全球总法律顾问,负责监督TikTok。此次任命是在即将离任的总法律顾问埃里希·安德森 (Erich Andersen)于4月宣布他将于6月辞去总法律顾问一职并担任公司特别顾问之后做出的。从6月1日起,John Rogovin将向梁汝波汇报工作,并间接向周受资汇报工作。

图源:TikTok新闻发布官网
同一天,TikTok Shop跨境电商正式发布“亿元俱乐部”专项政策,旨在通过提供一系列专项激励和资源支持,助力越来越多的跨境自运营商家在美区早日实现GMV的突破。此项政策将优先向部分TikTok Shop美区跨境自运营的重点商家开放。

图源:TikTok Shop跨境电商公众号
针对此次发布的激励政策,TikTok Shop跨境电商副总裁木青表示:平台将持续支持各类商家的经营和可持续发展。一些早期入驻和投入的跨境商家已在全球多个市场获得了成功。我们希望通过本次激励政策,以及一揽子电商解决方案和资源支持,帮助越来越多的跨境商家成长,并引领新的消费趋势与潮流。同时,我们也希望推动TikTok Shop跨境业务对电商生态的积极影响。
去年9月,TikTok正式上线美国小店,关闭半闭环、发力全闭环电商,此后大力招揽卖家、持续优化用户服务。到去年年底时,TikTok Shop的美区单日GMV已经突破了1400万美元,在黑五网一等大促期间单日GMV甚至能突破3300万美元。根据研究机构Yipit Data的数据,TikTok Shop美国站点去年的总GMV(商品交易总额)预计为16.7亿美元(约合人民币120.7亿元)。

TikTok美国小店2023年GMV达16.7亿美元 图源:Nasdaq
据晚点LatePost今年4月下旬发布的消息,TikTok Shop、阿里海外电商和Shein定下了2024年交易额目标,同比增速分别为150%、125%和40%。
其中,TikTok Shop 2023年交易额达到200亿美元,遂定下今年500亿美元目标,同比增速为150%。该平台指的是站内交易的电商业务,不包括商家在站内打广告,导流到站外成交的部分。
值得一提的是,今年4月,研究机构Earnest Analytics公布了一组关于电商平台复购率的最新数据。其中,TikTok Shop复购率排名第二,大约有27%的消费者会于首次下单的五个月后再次到该平台上购买商品,仅次于亚马逊。这得益于社交媒体、推荐算法的强势带动,以及TikTok自身的努力。

图源:Demandsage
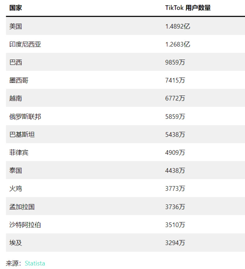
而Statista统计的数据显示,截至2024年4月,TikTok在全球有15.6亿月活跃用户,在最受欢迎的社交媒体平台中排名第5。其中,在美国拥有1.4892亿用户,是TikTok用户最多的国家。
到2024年,TikTok预计将在全球拥有20.5亿注册用户。这一数字在2022年为17亿,而到了2023年则攀升至19亿。Statista进一步预测,到2027年,TikTok的用户数量有望突破22.5亿。
————————————————
原文作者:拾枫
转自链接:https://www.dsb.cn/p/01hzh9byg19529nadye4y4a95x
版权声明:著作权归作者所有。商业转载请联系作者获得授权,非商业转载请保留以上作者信息和原文链接。
